中華人民共和國國家標準
光纖廠工程技術規范
Technical code for optical fiber plant engineering
GB 50945-2013
主編部門:中華人民共和國工業和信息化部
批準部門:中華人民共和國住房和城鄉建設部
施行日期:2014年6月1日
中華人民共和國住房和城鄉建設部公告
第236號
住房城鄉建設部關于發布國家標準《光纖廠工程技術規范》的公告
現批準《光纖廠工程技術規范》為國家標準,編號為GB 50945-2013,自2014年6月1日起實施。其中,第5.1.3、5.1.5、7.3.2、7.3.4條為強制性條文,必須嚴格執行。
本規范由我部標準定額研究所組織中國計劃出版社出版發行。
中華人民共和國住房和城鄉建設部
2013年11月29日
前言
本規范是根據住房城鄉建設部《關于印發<2009年工程建設標準規范制訂、修訂計劃>的通知》(建標[2009]88號)的要求,由工業和信息化部電子工業標準化研究院電子工程標準定額站和信息產業電子第十一設計研究院科技工程股份有限公司會同有關單位共同編制完成的。
本規范編寫過程中,編制組總結了我國近二十年來光纖廠工程設計、施工的成功經驗,進行了專題調查研究,并在全國廣泛征求意見,完成報批稿,最后經審查定稿。
本規范共分9章和1個附錄,主要內容包括:總則、術語、總體設計、工藝設計、建筑及結構設計、公用工程設計、電氣設計、安裝工程施工、工程驗收。
本規范主編單位、參編單位、主要起草人和主要審查人:
主編單位:工業和信息化部電子工業標準化研究院電子工程標準定額站
信息產業電子第十一設計研究院科技工程股份有限公司
參編單位:長飛光纖光纜有限公司
藤倉烽火光電材料科技有限公司
中國電子系統工程第二建設有限公司
浙江富通光纖技術有限公司
上海正帆科技有限公司
主要起草人:黃以莊 鄭秉孝 黃曉春 陳世海 蔣云琴 張智華 李海祥 王開源 繆根 施紅平 艾生珍 杜寶強 黎瑛 夏雙兵 張繼榮 趙孔肅 劉愛斌 伍淑堅 盧為民 李東升 陳思源 吳淳
主要審查人:黃文勝 薛長立 李詩愈 雷道玉 唐明 喻建武 趙允興 王德榮 尹紅兵 萬銅良 闞強
以下規范內容由合景凈化工程公司http://m.hbtyf.cn/進行整理編輯
1總則
1.0.1 為使光纖廠工程設計、安裝工程施工及工程驗收滿足光纖生產的工藝要求和生產環境要求,做到技術先進、保證質量、安全可靠,經濟適用,并符合節能減排、保護環境的要求,制定本規范。
1.0.2 本規范適用于光纖廠新建、改建、擴建和技術改造工程的設計、安裝工程施工及工程驗收,不適用于光纖預制棒生產廠的工程設計、安裝工程施工及工程驗收。
1.0.3 光纖廠工程設計、安裝工程施工及工程驗收除執行本規范外,尚應符合國家現行有關標準的規定。
2術語
2.0.1 光纖 optical fiber
光纖即光導纖維的簡稱,是光纖通信的傳輸媒介。光纖除了按制造工藝、材料組成以及光學特性進行分類外,在應用中光纖常按用途進行分類,可分為通信用光纖和傳感用光纖。
2.0.2 光纖預制棒 preform
用來拉制光纖、其徑向折射率分布符合光纖通信傳輸要求的具有芯和包層結構的石英玻璃棒。
2.0.3 拉絲 drawing
將光纖預制棒直徑縮小且保持芯包比和折射率分布恒定的操作。在拉絲塔頂部將光纖預制棒上端夾持,放入2000℃左右的拉絲爐中,下端加熱至熔融狀態,在牽引下被拉成所需規格的光纖。
2.0.4 拉絲塔 drawing tower
光纖拉絲塔是可高速地將光纖預制棒連續拉制成光纖的生產設備,主要由送棒裝置、拉絲爐、光纖測徑、冷卻裝置、涂覆裝置、紫外固化、光纖收排線裝置、控制柜和塔架等組成。
2.0.5 篩選/復繞 proof testing/rewinding
光纖在篩選機上通過張力測試作光纖強度篩選,剔除強度低的不合格的光纖,保證出廠光纖強度達到產品標準要求。經過篩選合格的光纖進行復繞分成國際通用的小盤光纖。
2.0.6 測試 test
對經過復繞的小盤光纖進行的成品檢測,主要測試項目有光時域反射計(OTDR)全項測試;光纖幾何尺寸測試;截止波長、模場直徑、光纖譜損、波長色散、偏振模色散(PMD)和翹曲度等。
2.0.7 抗氫損處理 resistance to hydrogen loss treament
將篩選/復繞后成盤的光纖放入專用密閉的壓力容器內,加入氘、氮等混合氣體處理,以有效降低光纖的氫敏感性,保證光纖長時間傳輸特性穩定的工序。
2.0.8 標準棒 standard rod
在拉絲塔設備安裝中,調整送棒裝置垂直度及旋轉度用的專用工具。
3總體設計
3.1 一般規定
3.1.1 光纖廠工程設計應根據生產工藝的特點,積極采用新工藝、新技術、新設備、新材料,并應為安裝工程施工、調試檢修、維護管理和安全運行創造條件。
3.1.2 光纖廠工程設計應貫徹節約能源、保護環境的方針,采取有效措施降低廢氣、廢水等對環境的影響。
3.1.3 在抗震設防烈度為6度及6度以上地區建設光纖廠時,其建筑物、構筑物和管道系統的抗震設防類別應按丙類進行抗震設防設計。
3.2 廠址選擇
3.2.1 光纖廠廠址選擇應結合地區中長期規劃,選擇在遠離散發大量粉塵、有嚴重空氣污染的工廠、倉庫、堆場的區域,同時應避開空氣污染源主導風向的下風向。
3.2.2 光纖廠廠址選擇應避開鐵路、碼頭、飛機場、交通要道等有嚴重振動影響的區域。
3.2.3 光纖廠廠址選擇應對市政給排水、動力供應、通信設施完善和交通便利等因素進行比選。
3.2.4 光纖廠廠址宜選擇在抗震設防烈度小于或等于8度的地區建設,在8度區遠離地震發震斷裂的最小避讓距離應大于200m。建筑場地應避開對抗震不利地段,不應在可能發生地質災害的危險地段建造光纖廠。
3.3 總平面布置
3.3.1 光纖廠應按工藝生產系統、動力輔助系統、倉儲系統、辦公和管理系統等功能分區進行總平面布置,人流、物流出入口布置應避免交叉干擾。
3.3.2 光纖廠宜設環形消防通道,若有困難時可沿廠房長邊的兩側設消防通道。消防通道的設置應符合現行國家標準《建筑設計防火規范》GB 50016的有關規定。
3.3.3 光纖廠廠區道路面層宜選用整體性能好、發塵少的材料。
3.3.4 光纖拉絲間離城市主要道路的直線距離宜大于50m。
3.3.5 光纖生產廠房周圍宜種植常綠灌木和草皮,不宜種植對生產環境有影響的高大喬木。
4工藝設計
4.1 光纖拉絲
4.1.1 光纖生產廠房火災危險性類別應為丁類。
4.1.2 光纖廠房的工藝區劃宜分別設置人員出入口、物料出入口。
4.1.3 光纖廠房的工藝區劃應按產品生產工藝流程(圖4.1.3)進行。

圖4.1.3 光纖生產工藝流程圖
4.1.4 安裝雙面光纖拉絲塔的拉絲間柱網尺寸應根據拉絲塔尺寸和工藝要求確定,宜采用6.0m×6.0m~8.4m×8.4m。
4.1.5 光纖廠房的設計,其生產環境應符合下列要求:
1 光纖廠房的潔凈度等級和溫度、相對濕度參數應符合表4.1.5的規定。
表4.1.5 光纖廠房潔凈度等級和溫度、相對濕度參數表

2 光纖拉絲塔未采用專用操作升降電梯時,宜分層設置鋼結構工作平臺,各層工作平臺之間應有鋼梯相連。
3 物料垂直運輸宜采用電梯或專用操作升降電梯,電梯或專用操作升降電梯的潔凈度等級應與拉絲間相同。
4 光纖拉絲間應設防靜電接地、工作接地、安全接地,設計宜采用綜合接地系統。防靜電接地應按現行國家標準《電子工程防靜電設計規范》GB 50611二級防靜電工作區進行設計。
5 光纖拉絲間照度宜大于300lx。
6 拉絲塔控制部分應設置不間斷電源(UPS)。
4.1.6 工藝設備布置除應滿足生產工藝要求外,還應滿足設備安裝、維修和生產操作的要求,并應布置運輸通道,預留設備安裝口、檢修口及凈化設施安裝空間。
4.1.7 拉絲塔生產能力計算宜按下列參數取值:
1 拉絲塔按雙面拉絲塔計,拉絲速度按拉絲塔標稱速度。
2 全年平均生產日大于或等于320d。
3 成熟工藝、正常操作情況下,光纖拉絲成品率可按90%~95%取值。
4 每天平均凈拉絲時間可設定為18h。
5 24h連續運轉工作制度。
4.1.8 光纖拉絲塔應進行防微振設計。當設備廠家未提供拉絲塔的容許振動參數時,拉絲塔的容許振動參數可按本規范附錄A的要求確定。
4.2 光纖篩選/復繞、測試
4.2.1 光纖篩選/復繞間宜采取降噪措施。
4.2.2 篩選/復繞設備、測試儀器應性能先進,其生產能力應與拉絲塔的生產能力相匹配。
5建筑及結構設計
5.1 建筑設計
5.1.1 光纖廠房的建筑功能應滿足光纖生產工藝的要求,平面柱網和空間布局宜采用大空間、大跨度柱網,宜留有擴建的靈活性。
5.1.2 平面設計應符合下列規定:
1 光纖廠房宜將拉絲間、篩選/復繞間、測試間、包裝間集中布置在一棟建筑內,動力站房宜靠近光纖廠房布置。
2 光纖廠房與動力廠房合并布置時,宜采用隔振縫隔開,隔振縫應從基礎開始設置,將基礎斷開,直至屋頂。非地震區隔振縫寬度不應小于50mm,地震區隔振縫寬度不應小于100mm,且應符合現行國家標準《建筑抗震設計規范》GB 50011的有關規定。光纖廠房與動力廠房之間的連接管道應采取主動隔振措施。
3 當空調機房等動力站房布置在篩選/復繞間、測試間、包裝間等房間的上層時,應采取有效的減振措施。
4 光纖廠房潔凈區四周宜設置參觀走道,若有困難時可沿廠房長邊的兩側布置參觀走道。
5 光纖廠房平面設計應將人流、物流路線分開,并應設置專用設備入口。設備搬入后,應及時將專用設備入口封閉。
5.1.3 光纖廠房建筑物耐火等級不應低于二級。
5.1.4 光纖廠房防火分區設定應符合下列規定:
1 防火分區應按工藝布置設定,防火分區面積不限。
2 拉絲間、篩選/復繞間、測試間和包裝間宜合為一個防火分區。
3 計算防火分區面積時,拉絲間可按單層面積計算。
4 工作平臺應與拉絲間疏散樓梯相通。
5 在一個防火分區內,潔凈區與非潔凈區之間應設置不燃燒體隔墻,隔墻耐火極限不應低于1.0h,隔墻上的門窗耐火極限不應低于0.6h。
5.1.5 每一防火分區的安全出口數目不應少于2個,安全出口應分散布置。并應設計明顯的疏散標志。拉絲間高度大于24m時。應增設從拉絲間工作平臺直通廠房較矮部分屋面的室外疏散通路。
5.1.6 光纖廠房潔凈區外墻專用消防口的設置應符合現行國家標準《電子工業潔凈廠房設計規范》GB 50472的有關規定。
5.1.7 光纖廠房人員凈化用室的設計,應符合下列規定:
1 人員凈化用室的入口處,應設凈鞋設施。
2 外衣與潔凈工作服應分別存放,存放柜可按潔凈區內人數每人一柜配置。
3 衛生間應設在人員凈化用室之前。
4 在潔凈區的入口處應設空氣吹淋室。
5 空氣吹淋室應與潔凈工作服更衣室相鄰。
6 單人空氣吹淋室應按最大班人數每30人設一臺,也可采用多人吹淋室或通道式吹淋室。
7 空氣吹淋室一側應設旁通門。
5.1.8 光纖廠房潔凈區設計,應符合下列要求:
1 廠房變形縫不宜穿越潔凈區,當必須穿越潔凈區時,應采取相應的處理措施。
2 潔凈區內的頂棚和壁板應采用B1級(難燃性)材料,耐火極限不應低于0.4h,疏散走道的耐火極限不應低于1.0h;內部裝修材料應滿足現行國家標準《建筑內部裝修設計防火規范》GB 50222的有關規定。
3 墻壁和頂棚光反射系數宜為0.6~0.8。
4 潔凈區的外窗應采用雙層固定窗,潔凈區靠室內一側不宜設窗臺,當設窗臺時應與內墻齊平。
5 潔凈區的樓地面應平整、耐磨、易清潔、防靜電、避免眩光、不開裂,地面的光反射系數宜為0.15~0.35。地坪宜配筋,并宜做防潮構造。
5.2 結構設計
5.2.1 光纖廠房的主體結構宜采用框架結構體系,并應滿足工藝設備布置和各種管線布置的要求,不應采用內墻承重體系。
5.2.2 基礎設計應符合下列規定:
1 光纖廠房基礎持力層范圍內存在軟弱黏土層時,應根據場地的工程地質和水文地質條件、施工條件、環境條件等因素,選擇樁基或人工處理復合地基。采用復合地基時應按國家現行標準《建筑地基處理技術規范》JGJ 79和《建筑地基基礎設計規范》GB 50007的有關規定進行載荷試驗和地基變形驗算。
2 光纖廠房同一結構單元的基礎不宜埋置在不同的地基土上,不宜一部分采用天然地基,另一部分采用樁基礎。
3 拉絲塔基礎持力層范圍內地基承載力特征值小于300kPa或地層構造不均勻時,應采用樁筏基礎。筏板的厚度不宜小于1200mm。
4 拉絲塔基礎未采用樁基時應進行地基變形驗算,拉絲塔基礎沉降量應小于50mm,基礎頂面平整度應符合本規范第9.2.3條的規定。
5.2.3 拉絲間防微振設計應符合下列規定:
1 拉絲塔基礎應與廠房主體結構基礎、地坪用隔震縫分開。
2 拉絲間的上部結構應采取綜合措施進行防微振設計。
3 拉絲塔塔體與廠房主體結構的連接應采取柔性連接構造。
4 接往拉絲塔的管線連接應采取柔性接頭。
5.2.4 拉絲間的柱網尺寸應滿足拉絲塔和各種管線布置的要求,當空調機房緊鄰拉絲間時,其柱距尺寸宜與拉絲間相一致。
5.2.5 拉絲間的層高應滿足拉絲塔總高度和光纖預制棒專用提升設備起吊高度的要求,當光纖預制棒的垂直運輸不采用專用提升設備時,拉絲間室內凈高應比拉絲塔塔架高2.5m以上。
5.2.6 拉絲間內工作平臺、技術夾層宜采用鋼結構,與廠房主體結構相連,但應與拉絲塔脫開。
5.2.7 空調機房、動力站房布置于樓層時,應采用現澆鋼筋混凝土井式樓蓋或梁板式樓蓋,并應有足夠的剛度;空調機房樓面現澆梁、板、柱截面的最小尺寸應符合表5.2.7的規定;當采用鋼框架結構時,應適當加大鋼框架梁柱的截面尺寸,并應采用現澆鋼筋混凝土組合樓板。

表5.2.7 空調機房樓面現澆梁、板、柱截面的最小尺寸
5.2.8 光纖廠房屋蓋宜采用現澆鋼筋混凝土井式屋蓋或梁板式屋蓋。屋面現澆梁、板、柱截面的最小尺寸宜符合表5.2.8的規定;當拉絲塔采用懸掛葫蘆在室內吊裝時,也可采用彩板鋼屋蓋體系,但應加強屋蓋支撐系統,支撐系統桿件應采用型鋼。

表5.2.8 屋面現澆梁、板、柱截面的最小尺寸
5.2.9 拉絲塔從屋面吊裝孔吊裝時,應符合下列要求:
1 屋面應預留吊裝孔和裝配式活動蓋板,吊裝孔洞口的中心應位于拉絲塔基礎中心,吊裝孔的尺寸應比拉絲塔平面尺寸每邊寬出不應小于300mm。
2 屋面吊裝孔在設備吊裝前應防止雨水、異物等落入。
3 與吊裝孔相對應的各層工作平臺應設置防護欄,防護欄高度不得低于1.2m。
4 設備吊裝完畢,應及時蓋好活動蓋板并應做好屋面吊裝孔的封閉。
5.2.10 拉絲塔采用室內吊裝時,應符合下列規定要求:
1 屋蓋下應設置5t懸掛葫蘆或5t梁式吊車。
2 外墻應預留設備入口,布置設備通道,設備入口和通道的尺寸應滿足拉絲塔部件開箱前進入拉絲間的尺寸要求。
3 拉絲塔安裝后,設備入口應及時封閉。
5.2.11 光纖廠房為超長混凝土結構時,宜采取超長混凝土結構無縫設計技術。
6公用工程設計
6.1 空調凈化與通風
6.1.1 光纖廠房的生產環境應滿足生產工藝的要求,各生產房間的潔凈度等級和溫度、相對濕度應按本規范表4.1.5的規定取值。
6.1.2 新風宜集中進行空氣凈化處理,新風機組風機應變頻控制,并應設置壓差報警。
6.1.3 新風機組冷凍水供回溫度宜為6℃~12℃,循環機組冷凍水供回溫度宜為10%~16℃;加熱盤管宜采用熱水為熱媒。
6.1.4 初效、中效、高效三級空氣過濾器可布置在空氣處理機組內。
6.1.5 拉絲間凈化空調的氣流組織應符合下列要求:
1 拉絲間凈化空調宜分層設置風口,每層宜采用上送下回的方式;頂層可采用側送上回的方式。
2 當拉絲塔設備配置了封閉的高潔凈度的凈化空氣循環系統時,宜采用分層側送側回方式。
6.1.6 在確定拉絲間凈化空調系統的送風量時,應計算每層工作平臺的工藝設備發熱量。
6.1.7 拉絲塔設備的紫外固化裝置送、排風系統應符合下列要求:
1 送風系統應獨立設置,不得抽取室內凈化空調空氣作為送風,空調器內可設置表冷盤管、加熱盤管以及初效、中效及亞高效空氣過濾器,送風機組的風機壓頭應計算工藝設備內部阻力;送風風管應核算風管承壓能力。
2 排風系統可高空排放。
3 熱排風風管應采用耐高溫耐高壓的材料。
4 涂覆揮發物排風風管應采用耐腐蝕的材料。
6.1.8 拉絲間應設置排煙設施。
6.2 給水排水
6.2.1 給水設計應符合下列要求:
1 光纖廠宜按生產、生活、消防分別設置獨立的給水系統;當市政供水的穩定性較差時,應采取不間斷生產供水的技術措施。
2 穿過潔凈區的給水管道,應根據水溫和所在房間的溫度、相對濕度采取隔熱防結露措施。
6.2.2 工藝用純水電阻率應大于或等于15MΩ·cm(25℃),純水站設計應符合現行國家標準《電子工業純水系統設計規范》GB 50685的有關規定。
6.2.3 工藝冷卻水系統設計應符合下列要求:
1 工藝冷卻水系統不應中斷供水,冷卻水循環泵應備用,備用泵應自動投入,壓差報警。工藝冷卻水系統宜接不間斷電源(UPS)。
2 工藝冷卻水系統供水水溫不宜大于30℃,使用點壓力不宜小于0.3MPa,補充水宜為軟化水,并宜設置快速補水系統。
3 工藝冷卻水系統在夏季宜利用冷凍水通過板式換熱機組熱交換,在其他季節可利用閉式冷卻塔熱交換。
4 工藝冷卻水系統宜為閉式循環系統,管道、閥門及附件宜采用不銹鋼材料。
6.2.4 消防給水和滅火設備的設置應符合現行國家標準《建筑設計防火規范》GB 50016的有關規定。
6.3 氣體動力
6.3.1 光纖廠常用氣體的品質要求應符合本規范表6.3.1的規定。
表6.3.1 光纖廠常用氣體的品質要求表

6.3.2 拉絲間宜設置集中式真空吸塵系統。
6.3.3 拉絲間高純氣體管道,宜與每臺拉絲塔對應布置,且宜采用排架固定,并應接入氣柜。
6.3.4 高純氣體管道規格應按氣體流量、壓力和生產設備確定,管道材料宜采用內壁拋光的不銹鋼管,管道連接應采用自動軌道氬弧焊或卡套連接。高純氣體管道設計應符合現行國家標準《大宗氣體純化及輸送系統工程技術規范》GB 50724的有關規定。
6.3.5 特種氣體系統的設計應符合現行國家標準《特種氣體系統工程技術規范》GB 50646的有關規定.
7電氣設計
7.1 供 電
7.1.1 光纖廠拉絲間和拉絲塔循環冷卻水系統應為二級負荷,其余宜為三級負荷。
7.1.2 光纖廠拉絲塔的計算機控制系統應設置不間斷電源(UPS)。
7.1.3 拉絲塔循環冷卻水系統宜設置不間斷電源(UPS)。
7.1.4 光纖廠變電站的布置宜靠近主要用電負荷中心。
7.1.5 UPS電源室應靠近變電站布置,且應設置空調。
7.1.6 工藝設備負荷與其他負荷宜用兩臺或兩臺以上的變壓器分別供電。
7.1.7 廠房的防雷接地設計應符合現行國家標準《建筑物防雷設計規范》GB 50057的有關規定。
7.1.8 光纖廠房的防靜電接地設計應符合現行國家標準《電子工程防靜電設計規范》GB 50611的有關規定。
7.2 照明、配電與自動控制
7.2.1 光纖廠房潔凈區內照明燈具宜采用不易集塵、便于清潔、吸頂明裝的高效熒光燈。
7.2.2 成品庫應采用黃光照明。
7.2.3 拉絲間各層平臺均應設置照明。
7.2.4 光纖廠房拉絲間、篩選/復繞間、測試間照明照度值宜大于或等于300lx,庫房、參觀走廊、工作平臺、動力站房等區域照度值宜為150lx~200lx。
7.2.5 光纖廠低壓配電電壓應采用220V/380V,帶電導體系統可采用單相二線制、三相三線制、三相四線制,低壓配電系統接地可采用TN-S或TN-C-S系統。
7.2.6 光纖廠的消防用電設備的配電設計應符合現行國家標準《建筑設計防火規范》GB 50016的有關規定。
7.2.7 光纖廠的凈化空調系統和動力供應系統應設置自動監控裝置,且各系統主要運行參數、設備的運行狀態及故障報警信號在現場及設備管理中心應同時顯示。
7.2.8 對凈化空調系統的監控應有溫濕度控制、送風靜壓控制、室內正壓控制、送風機變頻控制、送風靜壓下限報警顯示、防凍報警、空氣過濾器差壓報警、遠程監控等功能,且應設置空調系統過濾器的前后壓差檢測報警裝置。
7.2.9 對冷凍水二次泵、熱水系統的監控功能應有供水溫度控制、水泵進出口壓差報警顯示,遠程監控等。
7.2.10 大中型光纖廠的冷凍站,應進行節能控制設計。
7.3 通信、信息
7.3.1 光纖廠內通信設施的設置,應符合下列要求:
1 電話/數據布線應采用綜合布線系統,綜合布線系統的設備間、配線間宜設置在廠房潔凈區外。
2 宜設置生產、管理及動力區聯系的語音通信系統。
3 應設置數據通信局域網和與因特網連接的接入網。
4 宜設置潔凈區內外、拉絲間各層工作平臺之間的對講系統。
7.3.2 光纖廠必須設置火災自動報警系統,防護對象的等級不應低于一級。
7.3.3 光纖廠火災自動報警及消防聯動控制系統的控制及顯示功能應符合現行國家標準《火災自動報警系統設計規范》GB 50116的有關規定。
7.3.4 光纖廠房火災探測器的設置應符合下列要求:
1 潔凈區應設智能型火災探測器。
2 使用氫氣、氧氣和氘氣的封閉房間內應設置火焰探測器。
3 使用氫氣的封閉房間內還應設置氫氣濃度探測器。
7.3.5 光纖廠內應設置廣播系統,當廣播系統兼事故應急廣播系統時,應符合現行國家標準《火災自動報警系統設計規范》GB 50116的有關規定。
7.3.6 光纖廠宜設置閉路電視監控系統,監控攝像機宜采用彩色攝像機,閉路電視監控系統監控圖像存儲時間不宜少于15d。
7.3.7 光纖廠宜設置門禁系統,潔凈區內門禁讀卡器宜采用非接觸型,火災時門禁系統宜釋放。
8安裝工程施工
8.1 一般規定
8.1.1 光纖廠的給水排水工程、消防工程、氣體動力配管工程、通風空調凈化工程及電氣工程的施工應符合現行國家標準《建筑給水排水及采暖工程施工質量驗收規范》GB 50242、《火災自動報警系統施工及驗收規范》GB 50166、《大宗氣體純化及輸送系統工程技術規范》GB 50724、《通風與空調工程施工質量驗收規范》GB 50243和《建筑電氣工程施工質量驗收規范》GB 50303的有關規定。
8.1.2 光纖廠工程施工中采用的文件、合約中對施工質量的要求不得低于本規范的規定。
8.1.3 光纖廠工程施工中從事特種作業的人員應具有相應的資格證書,并在認可的資格范圍內作業。
8.1.4 施工單位應按設計施工,設計變更應有設計單位的變更通知或簽證。
8.1.5 主要設備、材料、成品、半成品進場驗收應有合格記錄,并應提交合格證、性能檢測報告、安裝及使用說明書。進口設備還應提供商檢證明,中英文對照的質量合格證明文件、性能檢測報告,安裝、使用、維修、試驗要求等技術文件。
8.1.6 施工、檢測的計量器具和儀器儀表應經法定計量檢定機構檢定合格,并應在檢定有效期內使用。
8.2 拉絲塔基礎施工
8.2.1 拉絲塔基礎施工應滿足工藝設備技術文件中規定的安裝條件,且基礎頂面平整度和基礎頂面標高應符合本規范表9.2.3的規定。
8.2.2 拉絲塔采用樁筏基礎時,可不進行預壓觀測;當采用天然地基筏板基礎時,應符合下列要求:
1 在拉絲塔安裝前宜進行預壓觀測基礎沉降量,觀測基準點應不受基礎沉降的影響,觀測點應在基礎周圍均布,并不應少于4點。
2 預壓的重量應為拉絲塔架及其塔架上各裝置總重量的1.25倍。
3 預壓物可用鋼材或其他不污染環境的重物,預壓物應均勻地放在基礎上。
4 預壓時間應到基礎穩定為止。
5 拉絲塔基礎沉降量和沉降差應符合現行國家標準《建筑地基基礎設計規范》GB 50007的有關規定。
6 拉絲塔基礎的傾斜度應符合本規范第9.2.3條基礎頂面平整度和基礎頂面標高的要求。
8.2.3 拉絲塔基礎澆筑前應安裝塔基模板。
8.2.4 拉絲塔基礎施工,除應符合本規范的規定外,尚應符合現行國家標準《建筑地基基礎工程施工質量驗收規范》GB 50202的有關規定。
8.3 拉絲塔安裝準備工作
8.3.1 拉絲塔安裝前應準備下列技術資料:
1 拉絲塔架、送棒裝置、拉絲爐、測徑儀、冷卻裝置、涂覆裝置、紫外固化裝置、牽引裝置、收線裝置、電控柜及氣控盤出廠合格證書及安裝、使用、維護說明書;進口設備還應提供相應的中英文技術文件和商檢證明文件。
2 設備安裝平面圖、標高圖、設備基礎圖、氣體動力配管圖、電氣原理及接線圖。
8.3.2 安裝機具除應準備通用設備安裝機具外,還應配備下列專用機具:
1 拉絲塔安裝平臺。
2 拉絲塔采用從廠房屋面預留洞吊入時,應配備(租用)大型吊車;拉絲塔采用室內吊裝時,應配備5t電動葫蘆、6t叉車、3t液壓搬運車。
3 中心模具、線錘、直徑0.5mm的紅色尼龍線、油杯、標準棒和百分表。
8.3.3 設備開箱檢驗應按照裝箱單進行,檢驗應符合下列要求;
1 核對包裝箱號、箱件數、設備的名稱、型號、規格應與裝箱單相一致,包裝箱是否有漏水或破損現象,若有破損應影像取證及記錄并與設備供應方聯系。
2 在確認包裝箱外觀一切正確常后,應用專用撬桿撬開木箱頂蓋開箱。
3 檢查箱中的設備及附件應與裝箱清單上的數量和名稱一致。
4 檢查隨機技術資料及專用工具應齊全。
5 檢查主機、附屬設備及零部件應齊全,并應由各專業人員進行驗收,妥善保管。
6 開箱檢驗后應填寫設備開箱記錄,記錄應簽字齊全。
8.4 拉絲塔塔架安裝
8.4.1 拉絲塔塔架安裝應在拉絲塔基礎混凝土達到75%以上強度時才能進行;拉絲塔塔架就位前,應先劃定安裝基準線,基準線的偏差應符合現行國家標準《機械設備安裝工程施工及驗收通用規范》GB 50231的有關規定。
8.4.2 拉絲塔底板安裝應符合下列要求:
1 固定拉絲塔底板采用預埋地腳螺栓時,預埋地腳螺栓應垂直,螺栓露出基礎的長度應為底板、墊片、彈簧墊、螺母的總厚度加0.5倍螺栓直徑;地腳螺栓的錨固長度應滿足抗拔要求。
2 固定拉絲塔底板采用高強度化學螺栓時,化學螺栓的材質、規格型號、植入深度、化學藥劑應符合拉絲塔設備安裝說明書的要求,擰緊地腳螺栓應在化學藥劑完全固化后才能進行。
3 固定拉絲塔底板的地腳螺栓應采用安裝模板來定位。
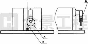
4 底座就位后應調整底板水平度(圖8.4.2-1或圖8.4.2-2),底板水平調整精度應為±0.1mm/m。
5 拉絲塔塔底應安裝減振裝置。

圖8.4.2-1 底板水平調整示意圖(一)
A-水準儀;B-刻度尺;C-調節螺栓;①~④-測試點

圖8.4.2-2 底板水平調整示意圖(二)
D-水平儀(精度0.02mm);C-調節螺栓;①~④-測試點
8.4.3 拉絲塔塔架安裝應符合下列要求:
1 拉絲塔塔架可采用吊車從屋面吊裝孔吊入,也可利用屋面下懸掛吊車直接在室內吊裝。
2 吊裝作業人員應持證上崗。
3 屋面吊裝孔周圍應設高度為1.2m的安全護欄。
4 吊裝作業時,底層應采取安全隔離措施及設置危險警示標志。
5 拉絲塔塔架應采用分段吊裝,安裝從底座開始,由下至上進行,每節塔架的水平度允許偏差應為±0.5mm,且每節塔架都要用螺栓調整水平。
6 拉絲塔塔架全部安裝就位后,應進行垂直度調整。拉絲塔的垂直度應滿足本規范表9.3.1和表9.3.2的要求。
8.5 拉絲塔部件安裝
8.5.1 拉絲塔部件安裝應包括送棒裝置、拉絲爐、測徑儀、冷卻裝置、涂覆裝置、紫外固化裝置、牽引裝置、電控柜、氣控盤、真空氧分儀、露點儀的安裝。安裝前,拉絲間的空氣潔凈度等級、溫度、相對濕度參數、防靜電等應符合設計要求;各部件的安裝精度應符合本規范第9.4.1條的規定。
8.5.2 送棒裝置安裝應保證調心機構中心與拉絲爐中心線重合。
8.5.3 拉絲爐安裝應符合下列要求:
1 在拉絲爐上表面放置水平儀,松開拉絲爐地腳螺栓,調節水平度,調整精度應為±0.5mm。
2 拉絲爐上口放置定心模具,穿過定心模具中心孔懸掛一線錘,線錘應浸入地面的油杯中。
3 待線錘靜止后,觀察垂線與張力輪導輪的入線側的相對位置,根據垂線與輪槽根圓表面中心偏移情況,松開爐子地腳螺栓,旋動調節螺釘,移動拉絲爐位置,直至線錘靜止后,擰緊拉絲爐地腳螺栓,垂線與導輪入線側輪槽根圓面相切,且在輪寬的正中間,允許偏差應為±0.1mm。
8.5.4 測徑儀和冷卻、涂覆、紫外固化、牽引、收線裝置的安裝應符合下列要求:
1 測徑儀的中心應與設備中心線重合,安裝就位后應調整水平和垂直度;測徑儀測量精度應滿足光纖外徑允許變化量1μm的要求,宜選擇精度為0.5μm±0.02%的干涉圖形直徑檢測儀或掃描激光直徑檢測儀。
2 冷卻裝置的中心應與設備中心線重合;對于多節冷卻管,每節也應與設備中心線重合。
3 涂覆裝置應安裝在冷卻器之下,涂覆裝置的中心應與設備中心線重合。
4 紫外固化裝置安裝在涂復模具座下面,紫外固化裝置的中心應與設備中心線重合,并應調整紫外燈箱中心與涂覆模具座中心垂線重合。
5 牽引裝置安裝應將張力輪裝置放在基座上,使張力輪裝置底邊中線與塔架基座邊中線對齊,牽引裝置導輪進線側中心與設備中心線重合且相切。
6 收線裝置應安裝水平且固定牢固。
8.5.5 電控柜的安裝應符合現行國家標準《建筑電氣工程施工質量驗收規范》GB 50303的有關規定,并應留有足夠的檢修空間。
8.5.6 氣控柜安裝應符合下列規定:
1 氣控柜就位應按照設計圖紙的要求定位,宜水平安裝在地面或固定在基礎上,同時應具有人員操作空間、門的開啟空間和管道接口的距離。
2 固定氣控柜的地腳螺栓應采用不銹鋼螺栓。
3 氣控柜應采用獨立的支吊架,不得利用管道的支架支撐。
8.5.7 真空泵應水平安裝在地面或固定基礎上,并應設置橡膠墊片,減輕振動。真空泵應留有足夠的檢修空間。
8.5.8 氧分儀、露點儀的安裝位置應便于讀值、操作、拆裝檢修、定期維護和標定。
8.6 拉絲塔管道安裝
8.6.1 拉絲塔管道安裝應符合下列規定:
1 材料進場時應經外包裝檢驗和文件檢驗,合格后方可使用。
2 貫穿塔架的管道應布置在塔架的管道豎井內并平行敷設,當管外徑小于6mm或1/4″時,中心間距應為40mm;當管外徑為6mm~12mm或1/4″~1/2″時,中心間距應為60mm。
3 拉絲爐、冷卻裝置等與管道之間應采用不銹鋼金屬軟管連接。
4 與氣控面板、分析儀器、真空泵等設備連接的管道,應消除應力。
5 與設備連接的螺紋接口應采用聚四氟乙烯膠帶密封填料。
6 管外徑大于1/2″的不銹鋼管道彎頭應采用成品彎頭;管外徑小于或等于1/2″的彎頭可在現場使用專用彎管器煨制,彎頭彎曲半徑應大于或等于5倍管外徑,揻制彎頭的變形率應小于5%。彎管加工困難的地方可用成品彎頭,但不得在焊口的位置彎曲。
7 管道連接應采用自動軌道氬弧焊,但每節塔架之間應采用快接接頭連接。
8 自動軌道氬弧焊所用氬氣純度不得小于99.99%,管路前端應裝流量計顯示氣體流量,末端應裝壓力計監測管內壓力。
9 塔架各段管道應設置管道標志,注明介質名稱和流向。
10 管道焊接施工除應執行本規范規定外,尚應符合現行國家標準《現場設備、工業管道焊接工程施工規范》GB 50236的有關規定。
8.6.2 管道安裝完畢并進行外觀檢驗合格后,應進行壓力試驗,壓力試驗除應執行現行國家標準《特種氣體系統工程技術規范》GB 50646外,還應符合下列規定:
1 壓力試驗應采用氣壓試驗,試驗氣體宜采用高純氮氣或氬氣。
2 強度試驗壓力應為設計壓力的1.15倍,保壓時間不應少于30min;氣密性試驗壓力應為設計壓力的1.05倍,保壓時間不應少于24h。
3 壓力試驗過程應記錄起止溫度,溫度修正后的壓降值不得超過1%。
4 壓力試驗合格后應采用高純氮氣或氬氣進行管路吹掃,管路吹掃合格后應充氮氣密封。
5 壓力試驗合格后,應填寫管道系統壓力試驗記錄。
8.7 拉絲塔電氣安裝
8.7.1 電力線、控制線不得敷設在同一線槽內,線槽內電纜應有序排列。
8.7.2 線纜連接時,應根據接線表中的編號或電纜顏色進行檢查標記,完成后統一檢查確認。
8.7.3 線芯的端部應設相應的終端接頭,接頭與線芯應使用專用工具進行壓接,壓接后的接頭、連接管應無裂口,無芯線脫出等缺陷。
8.7.4 導線出入金屬管口或通過金屬盒壁處應加強絕緣或設絕緣護口。
8.7.5 線路第一次通電前應確認線路接線、絕緣電阻、電源相序、電壓等級符合要求后方可送電。
8.7.6 設備電氣安裝應符合現行國家標準《建筑電氣工程施工質量驗收規范》GB 50303的有關規定。
8.8 拉絲塔部件調整
8.8.1 拉絲塔架垂直度調整可用直徑不大于0.5mm紅色尼龍繩穿過拉絲爐的中心模具,再放到塔架底端掛上鉛錘后浸入油杯中進行檢查及調整。雙面光纖拉絲塔塔架的垂直度應符合本規范表9.3.1的要求,單面光纖拉絲塔塔架的垂直度應符合本規范表9.3.2的要求。
8.8.2 送棒裝置垂直度調整時(圖8.8.2),上下兩部位橫向及縱向允許偏差均應為±0.5mm。

圖8.8.2 送棒裝置垂直度調整
A-調節螺栓
8.8.3 尾棒夾具垂直度調整(圖8.8.3)應按下列規定進行:

圖8.8.3 尾棒夾具垂直度調整
A-送棒裝置箱;B-磁性表座;C-夾緊裝置;l-標準棒;Q-百分表
1 裝上標準棒后,在圖8.8.3所示位置用百分表檢測標準棒,垂直度允許偏差應為±0.1mm/m。
2 在標準棒上面做出標記,作為零點,在正確的夾緊狀態下,0°和180°取得的數據變化趨勢應相同。
8.8.4 設備中心線調整應符合下列規定:
1 調整送棒裝置的XY單元獲得設備中心線(圖8.8.4-1),應使中心線與基準板間距Y1符合設備要求尺寸,中心線處于基準板中心位置,且X1=X2。

圖8.8.4-1 調整XY
A-基準板;B-送棒裝置;C-油杯
2 調整至符合要求后固定設備中心線(圖8.8.4-2),檢查在整個光纖拉絲通路中設備中心線不應觸碰其余部件,設備中心線精度應符合本規范第9.4.1條的規定。

圖8.8.4-2 固定中心線
A-導輪;B-導輪槽
9工程驗收
9.1 一般規定
9.1.1 光纖廠安裝工程驗收,除應符合現行國家標準《建筑地基基礎工程施工質量驗收規范》GB 50202、《機械設備安裝工程施工及驗收通用規范》GB 50231、《現場設備、工業管道焊接工程施工規范》GB 50236、《建筑電氣工程施工質量驗收規范》GB 50303和《特種氣體系統工程技術規范》GB 50646外,尚應符合下列要求:
1 施工、安裝和調試用各類計量器具、測量儀器,應檢定合格,并在有效期內。
2 施工、安裝和調試中各類工人和專業人員,應按相關要求持證上崗。
9.1.2 主要設備、材料、成品、半成品進場驗收應有合格記錄,并應提交合格證、性能檢測報告、安裝及使用說明書。進口設備還應提供商檢證明,中英文對照的質量合格證明文件、性能檢測報告,安裝、使用、維修、試驗要求等技術文件。
9.2 拉絲塔基礎工程驗收
9.2.1 檢查拉絲塔樁筏基礎,筏板厚度不應小于1200mm。
9.2.2 檢查無樁基拉絲塔基礎,沉降量應小于50mm。
9.2.3 光纖拉絲塔基礎上平面驗收標準應符合表9.2.3的規定。
表9.2.3 光纖拉絲塔基礎上平面驗收標準


9.3 拉絲塔安裝工程驗收
9.3.1 雙面拉絲塔塔架的垂直度應符合表9.3.1的要求。
表9.3.1 雙面拉絲塔塔架的垂直度要求

9.3.2 單面光纖拉絲塔塔架的垂直度應符合表9.3.2的要求。
表9.3.2 單面光纖拉絲塔塔架的垂直度要求

9.4 拉絲塔部件安裝工程驗收
9.4.1 設備各部件中心精度應符合下列規定:
1 拉絲爐中心垂線與設備中心線在拉絲爐上下口檢測(圖9.4.1),允許偏差應為±0.5mm。

圖9.4.1 拉絲爐中心垂線檢測示意圖
A-上爐口中心;W-拉絲爐;U-定型管
2 測徑儀中心與拉絲爐中心垂線的允許偏差應為±0.1mm。
3 冷卻管中心與拉絲爐中心垂線的允許偏差應為±0.5mm,對于多節冷卻管,每節也應滿足要求。
4 涂覆裝置中心與拉絲爐中心垂線的允許偏差應為±0.5mm。
5 紫外固化裝置中心與拉絲爐中心垂線的允許偏差應為±0.5mm。
6 牽引裝置導輪進線側中心與拉絲爐中心垂線應重合,允許偏差應為±0.1mm,且應相切。
9.4.2 電控柜、氣控盤的垂直度允許偏差應為±1.5‰。
9.5 拉絲塔管道安裝工程驗收
9.5.1 管道、管件、閥門的材質、型號規格、等級均應滿足設計要求。
9.5.2 管道系統外觀檢驗應符合下列要求:
1 閥門、管件的安裝位置和方向應符合設計文件要求。
2 管道焊縫、彎管應無裂縫。
3 管道焊縫應符合下列要求:
1)凹陷度、凸起度及錯邊量均應小于管壁厚的10%;
2)焊縫寬度應大于管壁厚度并小于3倍管壁厚度;
3)色澤應無明顯變色;
4)焊縫偏斜度應小于焊縫寬度的20%。
9.5.3 管道焊接驗收除應符合本規范規定外,尚應符合現行國家標準《現場設備、工業管道焊接工程施工規范》GB 50236的有關規定。
9.6 拉絲塔電氣安裝工程驗收
9.6.1 檢查線纜連接時,應根據接線表中的編號或電纜顏色確認標記是否準確、統一。
9.6.2 檢查線芯壓接接頭,連接管應無裂口,芯線無脫出等缺陷。
9.6.3 檢查導線出入金屬管口或通過金屬管壁處是否已加強絕緣保護或設絕緣護口。
9.6.4 線路檢查應符合下列要求:
1 接線應無漏接和錯接,絕緣電阻應符合設計要求。
2 接線槽、控制柜應無剩余的接線頭、電線等雜物。
9.6.5 通電檢查應符合下列要求:
1 電源相序應符合設計要求。
2 電壓等級應符合相關設備的要求。
附錄A 精密設備、儀器容許振動通用標準曲線和應用說明
A.0.1 拉絲塔的容許振動參數可按精密設備、儀器容許振動通用標準曲線(圖A.0.1)中VC-B(25μm/s)曲線確定。

圖A.0.1 精密設備、儀器容許振動通用標準曲線
A.0.2 精密設備、儀器容許振動標準曲線的應用應符合表A.0.2的要求。
表A.0.2 精密設備、儀器容許振動標準曲線應用說明

本規范用詞說明
1 為便于在執行本規范條文時區別對待,對要求嚴格程度不同的用詞說明如下:
(1)表示很嚴格,非這樣做不可的:
正面詞采用“必須”,反面詞采用“嚴禁”;
(2)表示嚴格,在正常情況下均應這樣做的:
正面詞采用“應”,反面詞采用“不應”或“不得”;
(3)表示允許稍有選擇,在條件許可時首先應這樣做的:
正面詞采用“宜”,反面詞采用“不宜”;
(4)表示有選擇,在一定條件下可以這樣做的,采用“可”。
2 條文中指明應按其他有關標準執行的寫法為:“應符合……的規定”或“應按……執行”。
工程視頻案例
PURIFICATION CASE
新能源電池案例
PURIFICATION CASE
電子光學案例
PURIFICATION CASE
生物制藥案例
PURIFICATION CASE
醫療器械案例
PURIFICATION CASE
食品日化案例
PURIFICATION CASE